Apple Watch poderá alertar sobre falhas na vedação

Apple Watch poderá alertar sobre falhas na vedação em futuras gerações, de acordo com uma patente recentemente concedida pelo United States Patent and Trademark Office (USPTO).

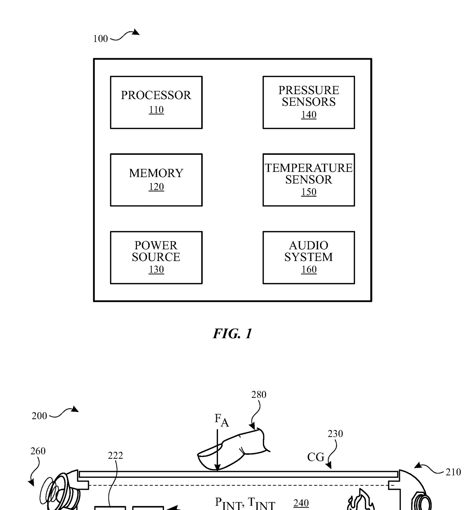
A documentação, intitulada “Seal Integrity Diagnostics System”, detalha um conjunto de hardware e software capaz de identificar qualquer desgaste no sistema que isola o relógio da entrada de líquidos.

Apple Watch poderá alertar sobre falhas na vedação

O projeto descrito pela Apple reúne três elementos principais: um sensor de áudio, responsável por captar variações de pressão acústica dentro da caixa do smartwatch; um processador, que interpreta esses dados; e um algoritmo capaz de estimar se houve infiltração de água. Caso o volume detectado extrapole os limites considerados seguros, o relógio acionaria um aviso para o usuário no watchOS.

Como o sistema deve funcionar

Desde o Apple Watch Series 2, o dispositivo ostenta certificação de resistência à água, característica fundamental para quem pratica natação, surfe ou, simplesmente, utiliza o relógio no chuveiro. A própria Apple lembra, porém, que selos de vedação se degradam com o tempo, sobretudo quando expostos a mergulhos frequentes ou variações bruscas de temperatura.

Com a nova tecnologia, o sensor acústico avaliaria a pressão interna de forma periódica. Qualquer alteração indicaria microfissuras ou folgas na estrutura, sinalizando que a barreira contra líquidos está comprometida. Dependendo do nível de risco, o sistema poderia:

  • Emitir uma notificação para o usuário buscar manutenção;
  • Atuar como ferramenta de diagnóstico nos centros de serviço autorizados, acelerando reparos.

Benefícios para usuários e assistência

O alerta preventivo ajudaria a evitar danos em componentes sensíveis, como microfones, alto-falantes e circuitos internos. Já as equipes de suporte teriam um diagnóstico mais preciso, reduzindo o tempo de bancada e o custo dos consertos.

Apple Watch poderá alertar sobre falhas na vedação - Imagem do artigo original

Imagem: Internet

Disponibilidade ainda indefinida

Apesar do registro, não há confirmação de que a Apple implementará o recurso nos próximos modelos. Patentes costumam refletir pesquisas em andamento e nem sempre chegam ao mercado. Até lá, usuários continuam contando com o índice de resistência atual, que garante imersões de até 50 metros em água doce para as linhas Series 9 e SE 2, e até 100 metros no Apple Watch Ultra 2.

Se você quer conhecer outros recursos voltados à durabilidade do relógio, confira nossa análise completa do Apple Watch Ultra.

Fique ligado no Celular na Mão para mais novidades sobre wearables e inovações da Apple.

Com informações de MacMagazine

Deixe um comentário

O seu endereço de e-mail não será publicado. Campos obrigatórios são marcados com *